Apple today received a patent on a head-mounted laser video display. Now that the three-year old application has finally been approved, Steve Jobs can put these babies through his grueling design process and hopefully pretty them up a bit.
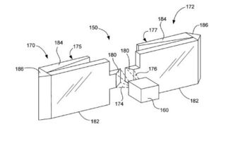
Apple's innovation over previous head mounted displays is, in part, to separate the laser engine from the headgear, stowing the engine in a separate unit connected to the frames via fiber optic cable. Such an "iGlasses" setup, as our tipster calls it, would allow a more immersive television, gaming or conferencing experience when using, say, an iPhone. Or you could just walk around pretending to be a commando from the future, with frickin' laser breams attached to your head.
It's not clear whether Jobs will ever turn this officially-designated innovation into a product; his company boasts an impressive cash hoard with which it funds more research than it can use. Many of the patents from Apple's seemingly endless stream are never heard from again. The obsessive CEO remains, by all accounts, infatuated with his forthcoming tablet product at the moment, so we're not counting on being able to buy iGlasses anytime soon. But simply by putting the patent into the trophy case, Apple adds a little something to its mystique among its growing base of fans, the press included.
The first page of the patent is below, along with one drawing; we've archived the full filing here. AppleInsider summarized the application back in April.
