It's hard to believe that there is actually an inventor of product placement; like swine flu, it always seemed just nature's dark side. But someone thinks he did in fact invent it and is willing to sue to prove it.
The brilliant graphic illustration above is a very scientific illustration of just how to turn watchable televison programming into fast-food shilling drivel. Here's the technical explanation of just what's going on above:
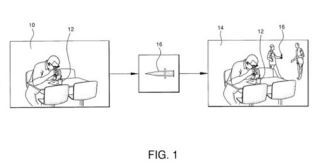
In one embodiment, as shown in FIG. 1, a conventional advertisement 10 shown during televisin program's commercial break promotes a new product 12 of, for example, a fast-food establishment. The advertisement 10 is attempting to sell the particular product 12. A program-advancing element 16, such as the knife in this particular example, is introduced into the advertisement 10 to form a program-integrated advertisement 14. The program-advancing element relates to the television program and can be a program-promoting element, i.e., a viewer associates the knife with the program. Additionally, the two characters dealing with the knife in the program-integrated advertisement 14 may themseves be program-advancing elements, if they are characters in the program.
We came across this technological marvel via The Hollywood Reporter's legal blog, THR, esq which wrote about what must be one of the most amazing lawsuits of all time. This legalistic rabbit hole's silliness is so profound that it makes us think that it might be time to throw the entire judicial system out the window and muddle by on mob rule for a few decades.
THR writes:
Delaware-based ad agency Denizen is suing media agency Mindshare for stealing an idea to integrate a brand of Vaseline into a Lifetime miniseries called "Maneater."
In the complaint, Denizen says that TV networks face the problem of viewers not paying attention to ads in between segments of a show and claims to have "created the concept of 'program integrated advertisement' in order to entice viewers to pay attention to advertisements in various media, including, but not limited to, television, radio, and the Internet.
Denizen isn't actually suing for stealing the idea of product placement, but they are accusing Mindshare of making off with trade secrets about how to implement world class product placement that the Denizen folks supposedly let them in on during a meeting between the two companies.
But Denizen isn't just claiming spuriously, "yeah, we thought of that first"; they actually filed a patent on product placement, which they call "Program Integrated Commercials." Denizen's patent must rank as one of the most amazing legal documents ever produced, demonstrating the legal system's ability to absorb any level of ridiculousness and turn it into mind-numbing deadly serious jargon.
The patent starts out bemoaning the desperate state of advertising, noting the wreckage TiVo has wrecked and the failures of basically every attempt to get people excited about watching ads, what with these ungrateful viewers changing channels and fast forwarding and all.
The patent then claims, "The present invention comprises a method and system for incorporating thematic content from a particular television program into product or service advertisements (commercials) for a sponsor or the program or network."
Actually, when one gets into it the invention is far more sinister than merely sticking some products into a TV show wrapped around cockamamie plot points, but involves an attempt to take the characters out of the show and stick them into the actual ads based on cockamamie plot points, making the audience have to watch the ads themselves to be able to follow the plot of the show.
The verbal contortions in which the patent goes to explain this are fairly breathtaking. The following graph, for instance, attempts to codify this breakthrough in the science of forcing products into people's brains: "The program-advancing element is specific to a program or is associated with a program element such that it is capable of being recognized by a viewer. This includes, but is not limited to, character actions, setting descriptions, objects, sound recognition, and character dialogue, etc."
That's right, Denizen thunk that up! Take that Sterling Cooper!
You can browse this entire historic document by clicking one of the thumbnails below.
